
|
Холодильник

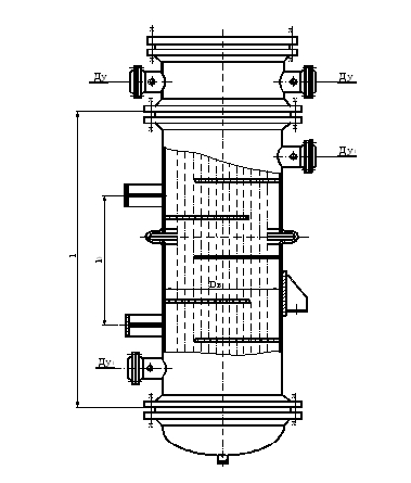
Расположение опор и штуцеров вертикальных аппаратов
Диаметр кожуха |
Давление в кожухе, МПа |
Длина труб |
Кол-во |
А1=5 |
R |
L |
lf |
наружный |
внутренний |
159 |
- |
1.6;2.5;4.0 |
1000;1500;
2000;3000 |
2 |
322
498 |
12 |
40 |
30
35 |
325 |
1500;2000
3000;4000 |
582 |
12,5 |
50 |
35 |
- |
400 |
1,0;1,6;2,5;4,0 |
2000;3000;
4000;6000 |
660 |
12,5 |
50 |
55 |
- |
600 |
1,0;1,6;2,5;4,0 |
2 при L=2000
4 при L>2000 |
870 |
- |
800 |
1,0;1,6;2,5 |
3000 |
1125 |
2000;4000;
6000 |
1206 |
40 |
3000;4000 |
2000;6000 |
12194 |
17,5 |
70 |
65 |
- |
1000 |
0,6;1,0;1,6;2,5 |
3000 |
1412 |
21 |
84 |
75 |
2000;4000;
6000 |
1496 |
4,0 |
3000;4000;
6000;9000 |
- |
1200 |
0,6;1,0;1,6;2,5 |
3000;4000;
6000 |
4 |
1704 |
9000 |
1800 |
Условное обозначение аппарата |
Исполнение теплообменного аппарата по материалу |
Материалы, применяемые для изготовления сборочных единиц теплообменных аппаратов |
кожуха |
распределительной камеры |
труб |
трубной решетки |
ХК
КК |
М3 |
Стали марок 10 и 20 по ГОСТ 8731
(группа В)***
Ст3сп5 по ГОСТ 14637
Сталь марки 16ГС по ГОСТ 5520 |
Стали марок 10 и 20 по ГОСТ 8731 (группа В)***
Ст3сп5 по ГОСТ 14637
Сталь марки 16ГС по ГОСТ 5520 |
Латунь ЛАМш 77-2-0,05 по ГОСТ 21646 |
Сталь марки 16ГС по ГОСТ 5520 ГОСТ 8479 (группа IV с наплавкой латунью марки ЛО-62-1 или Л63 по ГОСТ 15527) |
ТН, ТК, ХН, ХК, КН, КК, ИН, ИК |
М1 |
Стали марок 10 и 20 по ГОСТ 8733 (гр В) и ГОСТ550 (гр А) или или трубы электросварные по технической документации, утвержденной в установленном порядке |
Сталь марки 20 по ГОСТ 1050 и ГОСТ 8479 (гр IV)***
Сталь марки 16ГС по ГОСТ 5520 и ГОСТ 8479 (гр IV) |
|
ТН, ТК
ИН, ИК |
М8 |
Сталь марки 12Х18Н10Т по ГОСТ 9940***
Сталь марки 12Х18Н10Т по ГОСТ 5632 и ГОСТ 735 |
Сталь марок 08Х18Н10Т, 12Х18Н10Т по ГОСТ 9941 или трубы электросварные по технической документации, утвержденной в установленном порядке |
Сталь марки 12Х18Н10Т по ГОСТ 5632 ГОСТ 7350 (группа М2б) ГОСТ 25054 (группа IV) и технической документации, утвержденной в установленном порядке |
|
ТН, ТК
ИН, ИК |
М9 |
Сталь марки 10Х17Н13М2Т по ГОСТ 9940***
Сталь марки 10Х17Н13М2Т по ГОСТ 5632 и ГОСТ 7350 (группа М2б) |
10Х17Н13М2Т
по ГОСТ 9941 |
Сталь марки 10Х17Н13М2Т по ГОСТ 5632, ГОСТ 7350 (группа М2б) ГОСТ 25054 (группа IV) и технической документации, утвержденной в установленном порядке. |
ТН, ТК, ХН, ХК, КН, КК, ИН, ИК |
М10 |
Сталь марки 12Х18Н10Т по ГОСТ 9940***
Сталь марки 12Х18Н10Т по ГОСТ 5632 и ГОСТ 7350 (группа М2б) |
Стали марок 10 и 20 по ГОСТ 8731 (группа В)***
Сталь марки ВСт 3сп5 по ГОСТ 380*** Ст3сп5 по ГОСТ 14637 Сталь марки 16ГС* по ГОСТ 5520 |
Сталь марки 08Х18Н10Т по ГОСТ 9941 или трубы электросварные по технической документации, утвержденной в установленном порядке |
Сталь марки 08Х22Н6Т по ГОСТ 5632, ГОСТ 7350 (группа М2б) ГОСТ 25054 (группа IV) и технической документации, утвержденной в установленном порядке |
М11 |
Сталь марки 10Х17Н13М2Т по ГОСТ 9940***
Сталь марки 10Х17Н13М2Т по ГОСТ 5632 и ГОСТ 7350 (группа М2б) |
Сталь марки 08Х17Н13М2Т
по ГОСТ 9941 |
Сталь марки 10Х17Н13М2Т по ГОСТ 5632, ГОСТ 7350 (группа М2б) ГОСТ 25054 (группа IV) и технической документации, утвержденной в установленном порядке. |
Условное обозначение аппарата |
Исполнение теплообменного аппарата по материалу |
Материалы, применяемые для изготовления сборочных единиц теплообменных аппаратов |
кожуха |
распределительной камеры |
труб |
трубной решетки |
ТН. ТК
ИН, ИК |
М23 |
Стали марок 10 и 20 по ГОСТ 8731 (группа В)***
Ст3сп5 по ГОСТ 14637 Сталь марки 16ГС по ГОСТ 5520 |
Сталь марки 08Х22Н6Т ГОСТ 5632 и ГОСТ 7350 (группа М2б) |
Сталь марки 08Х22Н6Т по ГОСТ 5632 и ГОСТ 9941 |
Сталь марки 08Х22Н6Т по ГОСТ 5632 и ГОСТ 7350 (группа М2б), ГОСТ 7350 (группа IV) и технической документации, утвержденной в установленном порядке |
М24 |
Сталь марки 08Х21Н6М2Т ГОСТ 5632 и ГОСТ 7350 (группа М2б) |
Сталь марки 08Х21Н6М2Т по ГОСТ 5632 и технической документации, утвержденной в установленном порядке |
Сталь марки 08Х21Н6М2Т по ГОСТ 5632, ГОСТ25054 (группа IV), ГОСТ 7350 (группа М2б) и технической документации, утвержденной в установленном порядке |
ТН. ТК
ИН, ИК |
Б6 |
Ст3сп5 по ГОСТ 14637 Сталь марки 16ГС по ГОСТ 5520 |
Двухслойная сталь марок Ст3сп5+12Х18Н10Т или 16ГС+12Х18Н10Т по ГОСТ 10885 или Сталь марки 10Х17Н13М2Т по ГОСТ 5632 и ГОСТ 7350 (группа М2б) |
Стали марок 08Х18Н10Т, 12Х18Н10Т по ГОСТ 9941 или трубы электросварные по технической документации, утвержденной в установленном порядке |
Сталь марки 12Х18Н1010Т по ГОСТ 5632, ГОСТ 7350 (группа М2б), ГОСТ 25054 (группа IV) и технической документации, утвержденной в установленном порядке |
Б8 |
Двухслойная сталь марок Ст3сп5+10Х17Н13М2Т или 16ГС+10Х17Н13М2Т по ГОСТ 10885 или Сталь марки 10Х17Н13М2Т по ГОСТ 5632 и ГОСТ 7350 (группа М2б) |
Сталь марки 10Х17Н13М2Т по ГОСТ 9941 |
Сталь марки 10Х17Н13М2Т по ГОСТ 5632, ГОСТ 7350 (группа М2б), ГОСТ 25054 (группа IV). |
* Применять для теплообменников и испарителей
** Применять только для теплообменников
*** Применять только для аппаратов ТН, ТК, ХК диаметром 159, 273, 325 мм, для исполнения М9, М11 диаметром 159 мм (ХК только для исполнения М3)
Примечание. Допускается изготавливать узлы и детали из материалов других марок, по механическим свойствам и коррозийной стойкости не уступающим
материалам, указанным в таблице.
|