ООО "Промхиммаш" г. Тамбов

Россия, 392010, г. Тамбов, ул. Монтажников, 10 тел./факс: (4752) 48-15-20, 53-58-64

Главная

Контакты

Руководство

Продукция

Сертификаты

Галерея

 

Аппараты емкостные

Теплообменная аппаратура

Резервуары

Сепараторы

Емкости подземные горизонтальные дренажные

Фильтры жидкостные сетчатые для трубопроводов

Отстойники нефти горизонтальные

Сосуды

Аппараты с перемешивающими устройствами

 

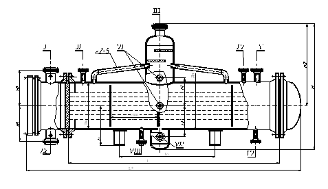
Испаритель типа ИХ-1

Испарители предназначены для охлаждения воды, растворов и жидких технологических сред, протекающих по трубам аппаратов, аммиаком, пропаном, пропиленом и другими хладоагентами испаряющиеся в межтрубном пространстве аппаратов.
Испарители изготавливаются двух исполнений:
– для охлаждения воды и растворов давлением до 0,6 МПа в установках, работающих в пределах температур насыщения плюс 40 – минус 400С;
– для охлаждения жидких технологических сред давлением 1,0-2,5МПа в установках, работающих в пределах температур насыщения плюс 40 – минус 600.

В испарителях применяются теплообменные трубы гладкие (Г).
Испарители могут эксплуатироваться в условиях макроклиматических районов с умеренным и тропическим климатом. Климатическое исполнение «У» и «Т», категория изделия I по ГОСТ 15150.
Испарители рассчитаны на установку в географических районах сейсмичностью до 7 баллов по принятой в РФ 12-ти бальной шкале.

Пример условного обозначения при заказе:

Испаритель холодильный, исполнения I, с кожухом диаметром 1000 мм, на условное давление в трубах 0,6 МПа, в кожухе 1,6 МПа, исполнения по материалу М1, с гладкими теплообменными трубами (Г) диаметром 25мм и длиной 6м, четырехходовой по трубам, климатического исполнения (У), с деталями для крепления теплоизоляции (И):
Испаритель холодильный 1000ИХ-I- 0,6-1,6-М1/25Г-6-4-У-И ТУ 3612.....
Испаритель холодильный, исполнения 2, с кожухом диаметром 1000мм, на условное давление в трубах 1,6 МПа, в кожухе 2,5 МПа, исполнения по материалу М17, с гладкими теплообменными трубами (Г) диаметром 25 мм и длиной 6 м, четырехходовой по трубам климатического исполнения (Т), без деталей для крепления теплоизоляции:
Испаритель холодильный 1000ИХ-2-1,6-2,5-М17/25Г-6-4Т ТУ 3612.....

Основные параметры испарителей ИХ-1

Наименование параметров

Значение параметров для аппаратов

ИХ-1

ИХ-2

КХ

Поверхность теплообмена, м2

21-1323

22-1485

Внутренний диаметр кожуха, (из листовой стали)

400; 600; 800; 1000; 1200; 1400; 1600; 1800; 2000

температура теплообменивающихся сред, (Т±5) 0С
в трубах
в кожухе

 

от –20 до +40
от –40 до +40

 

от –60 до +60
от –60 до +40

 

от –20 до +50
от 0 до +100

Условное давление,
МПа, не более
в трубах
для аппаратов диаметром, мм
400-1600
1800-2000

 

 

до 0,6

 

 

1,0; 1,6; 2,5; 1,0; 1,6

 

 

0,6

в кожухе

1,6

2,5

2,0

Длина теплообменных труб, мм для аппаратов диаметром, мм
400
600;800
1000
1200; 1400;
1600; 1800; 2000

 

3000
3000; 4000
3000; 4000; 6000
4000; 6000
6000

Наружный диаметр и толщина стенки теплообменных труб, мм

25х2

Число ходов пор трубам по трубам для аппаратов диаметром, мм
400
600
800-1400
1600-2000

 

 

2
2; 4; 6
2; 4; 6; 8
2; 4; 6

Схема и шаг размещения теплообменных труб в трубных решетках, мм

Схема по вершинам равносторонних треугольников.
Шаг-32

Материалы, применяемые для изготовления сборочных единиц основных узлов и деталей аппаратов

Тип аппаратов

Исполнение аппарата по материалу

Материал

кожуха

Распределительной камеры

труб

Трубные решетки

ИХ-1
ИХ-2

М1

Сталь марки 16ГС по ГОСТ 5520

Стали марок 10 и 20
по ГОСТ 1050,
ГОСТ 550 гр. А,
ГОСТ 8733 гр.В

Сталь марки 16ГС
по ГОСТ 5520 или 
ГОСТ 8479 гр. IV,
ГОСТ 19281

КХ

Сталь марки СТ 3 сп по ГОСТ 14637

ИХ-2

М12

Сталь марки 16ГС по ГОСТ 5520

Сталь марки 08Х22Н6Т
по ГОСТ 9941 и ГОСТ 5632,
Стали марок 08Х18Н10Т по ГОСТ 9941, ГОСТ 5632

Сталь марки 08Х22Н6Т
по ГОСТ 5632, гр. . IV
ГОСТ 7350 гр. М2б и технической документации, утвержденной порядке. Сталь марки 16ГС и 10Г2 по ГОСТ 8479 гр. . IV.

КХ

СТ3сп по ГОСТ 380, ГОСТ 14637. Сталь марки 16ГС по ГОСТ 5520. Трубы – сталь марки 20 по ГОСТ 1050, ГОСТ 8731 гр. В

СТ3сп по ГОСТ 380, ГОСТ 14637. Трубы – сталь марки 20 по ГОСТ 1050. ГОСТ 8731 гр. В

 

 

ИХ-2

М17

Сталь марки 09Г2С категории В по ГОСТ 5520
Трубы – сталь марок 10Г2 по ГОСТ 8731
Гр. А и 09Г2С по технической документации, утвержденной в установленном порядке.

Сталь марки 10Г2 по ГОСТ 550 гр. А ГОСТ 8733 гр. В

Сталь марок 09Г2С И 10Г2С1 категории В по ГОСТ 5520, 09Г2С и 10Г2 по ГОСТ 8479 гр.IV.

ИХ-2

Б6

Сталь марки 16ГС по ГОСТ 5520

Двухслойная сталь марки 16ГС+12Х18Н10Т по ГОСТ 10885

Стали марок 08Х18Н10Т 12Х18Н10Т по ГОСТ 9941, ГОСТ 5632.

Сталь марки 12Х18Н10Т по ГОСТ 5632, ГОСТ 7350 гр. М2б, ГОСТ 25054 гр. IV и технической документации утвержденной в установленном порядке.

Используются технологии uCoz