
|
Конденсаторы вакуумные по ТУ 3612-007-00220302-99
Конденсаторы типа КВНГ и КВКГ исполнения 3
Конденсаторы предназначены для конденсации сред под вакуумом в технологических процессах нефтяной, химической, нефтехимической, газовой и других отраслях промышленности и изготавливаются для внутрироссийских и зарубежных поставок.
Конденсаторы изготавливаются двух видов: горизонтальные и вертикальные.
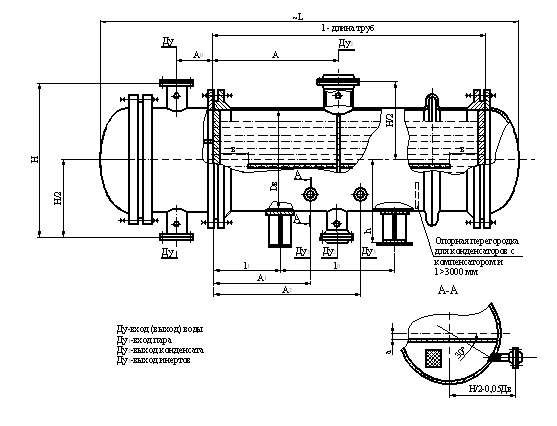
В зависимости от конструкции конденсаторы горизонтальные могут изготавливаться в четырех исполнениях:
исполнение1 – с разъемной распределительной камерой, плоской крышкой и кожухом диаметром 600-1200 мм при длине теплообменных труб 3000 и 4000 мм;
исполнение2 -– с разъемной распределительной камерой, плоской крышкой и кожухом диаметром 800-1200 мм при длине теплообменных труб 6000 мм;
исполнение 3 – с разъемной распределительной камерой, эллиптической крышкой и кожухом диаметром 1400-2000 мм при длине теплообменных труб 3000 и 4000 мм;
исполнение 4 – с разъемной распределительной камерой, эллиптической крышкой и кожухом диаметром 1400-2000 мм при длине теплообменных труб 6000 мм.
Конденсаторы вертикальные с диаметром кожуха 600-1200 мм выполняются со смещенным трубным пучком, с диаметром кожуха 1400-2000мм – с расширением кожуха в зоне входа пара.
В зависимости от конструкции распределительных камер конденсаторы вертикальные могут изготавливаться в двух исполнениях:
исполнение 1 – с разъемной распределительной камерой, плоской крышкой и кожухом диаметром 600-1200 мм;
исполнение 2 – с разъемной распределительной камерой, эллиптической крышкой и кожухом диаметром 1400-2000 мм.
В конденсаторах применяются теплообменные трубы гладкие (Г).
Конденсаторы могут эксплуатироваться в условиях макроклиматических районов с умеренным и тропическим климатом. Климатическое исполнение «У» и «Т», категория изделия 1 по ГОСТ 15150.
Конденсаторы рассчитаны на установку в географических районах сейсмичностью до 7 баллов по принятой в РФ 12-ти бальной шкале.
Пример условного обозначения теплообменного аппарата при заказе:
Конденсатор вакуумный с неподвижными трубными решетками температурным компенсатором на кожухе, горизонтальный (КВКГ), исполнения 2, с кожухом диаметром 800 мм, исполнения по материалу М1, с гладкими теплообменными трубами (Г) диаметром 25 мм, длиной 6 м, четырехходовой по трубам, климатического исполнения (У), с деталями для крепления теплоизоляции:
Конденсатор вакуумный
800 КВКГ-2-М1/25Г-6-4-У-И
ТУ 3612....
Конденсатор вакуумный с неподвижными трубными решетками, вертикальный (КВНВ), исполнения 1, с кожухом диаметром 1000 мм, исполнения по материалу М10, с гладкими теплообменными трубами (Г) диаметром 25 мм, длиной 4 м, шестиходовой по трубам, климатического исполнения (Т), без деталей для крепления теплоизоляции:
Конденсатор вакуумный
1000 КВНВ-1-М10/25Г-4-6-Т
ТУ 3612......
При заказе аппаратов должен представляться опросный лист по форме, приведенной в приложении.
По требованию потребителей допускается:
устанавливать дополнительные штуцера диаметром Dу £ 90 мм, но не более 0,1D, где D - диаметр аппарата;
принимать уменьшенный диаметр одного или нескольких штуцеров (увеличение диаметра штуцеров не допускается);
уплотнительную поверхность аппаратных фланцев и фланцев штуцеров выполнить «шип-паз»;
производить крепление труб в трубных решетках обваркой с развальцовкой (при отсутствии специального указания тип соединения труб с трубными решетками выбирает предприятие-изготовитель);
не устанавливать детали для крепления теплоизоляции;
устанавливать на горизонтальных аппаратах диаметром кожуха 600-1400 мм шарнирное устройство для подвешивания крышек.
Основные параметры конденсаторов вакуумных
Наименование параметров |
Значения параметров для конденсаторов |
КВНГ, КВКГ |
КВНВ. КВКВ |
Поверхность теплообмена, м2 |
41-1190 |
35-1444 |
Внутренний диаметр кожуха, мм (из листовой стали) |
600; 800; 1000; 1200; 1400; 1600; 1800; 2000 |
Температура охлаждлающей и конденсируемой сред, (Т±5)0С |
в трубах |
от минус 20 до плюс 60 |
в кожухе |
от 0 до плюс 200 |
от 0 до плюс 120 |
Условное давление, *МПа, не более |
в трубах |
0,6 |
в кожухе |
вакуум до 5 мм рт. ст. |
Длина теплообменных труб, мм для аппаратов диаметром, мм |
600 |
3000; 4000 |
800-1200 |
3000; 4000; 6000 |
3000; 4000; 6000 |
1400 |
4000; 6000 |
1600 |
1800 |
6000 |
2000 |
Наружный диаметр и толщина стенки теплообменных труб, мм |
25х2 |
Число ходов по трубам |
2; 4; 6 |
4;6 |
Схема и шаг размещения теплообменных труб в трубных решетках, мм |
Схема – по вершинам равносторонних треугольников.
Шаг –32. |

|