ООО "Промхиммаш" г. Тамбов

Россия, 392010, г. Тамбов, ул. Монтажников, 10 тел./факс: (4752) 48-15-20, 53-58-64

Главная

Контакты

Руководство

Продукция

Сертификаты

Галерея

 

Аппараты емкостные

Теплообменная аппаратура

Резервуары

Сепараторы

Емкости подземные горизонтальные дренажные

Фильтры жидкостные сетчатые для трубопроводов

Отстойники нефти горизонтальные

Сосуды

Аппараты с перемешивающими устройствами

 

Аппараты емкостные цилиндрические для газов и жидких сред
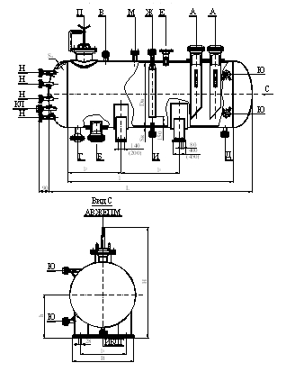
Аппараты типа 1 объемом 50; 80; 100; 200 м3

Аппараты емкостные цилиндрические для жидких и газовых неагрессивных сред со скоростью коррозии углеродистых и низколегированных марганцовистых и маргонцевокремнестых сталей не более 0,1 мм/год (в дальнейшем аппараты) с номинальными объемами от 2 до 200 м3, с условными давлениями от 0,8 до 2,5 МПа (от 8 до 25 кгс/см2) и температурами сред от минус 60 до 3000 С, предназначены для применения в технологических установках химической, нефтехимической, нефтеперерабатывающей, нефтяной и газовой отраслях промышленности.
Класс опасности рабочих сред – 2,3 и 4 по ГОСТ 12. 1. 007.
Жидкость должна иметь плотность не более 1000 кг/ м3, температуру, не превышающую температуру кипения при рабочем давлении, и температуру, при которой давление упругости паров не превышает рабочее давление аппарата. Допускается использование аппаратов для хранения жидких и газообразных сред без давления.
Аппараты не предназначены для хранения сжиженных углеводородных газов в складских условиях, для перевозки жидких и газовых сред, для использования их с футеровкой, гуммированием или нанесением других внутренних покрытий.Аппараты могут оборудоваться наружными или внутренними теплообменными устройствами, по АТК 24. 218. О7-90

Климатическое исполнение аппаратов:
При поставке в районы с умеренным или холодным климатом – УХЛ1 по ГОСТ 15150.
При поставке в районы с тропическим климатом – Т1 по ГОСТ 15150.

Выбор аппаратов для конкретных условий эксплуатации осуществляет проектная организация, применяющая аппарат в своих проектах, при этом должны учитываться требования «Правил безопасности при производстве, хранении, транспортировании и применении» конкретных веществ.

 

Основные параметры и размеры аппаратов типа1

Объем м3

Давление условное
Мпа (кгс/см2)

Двн

Материальное исполнение

l

 

l1

l2

l3

h

L

H

Материальное исполнение

1

2,3

1

2,3

Sk

Sq

S

Sk

Sq

S

Масса, кг

4

1,6(16)
2,5(25)

1200

10
14

10
14

8
8

8
12

8
12

6
6

3000

350

2000

500

822
826

3705
3705

1990
2000

1895
2370

1625
2100

8

1,0(10)
1,6(16)
2,5(25)

1600

10
12
16

10
12
16

8
6
6

8
10
14

8
10
14

6
8
8

3300

450

650

1022
1022
1026

4200

4210

2390
2395
2400

2715
3055
3860

2320
2680
3485

10

1,0(10)
1,6 (16)
2,5 (25)

10
12
16

10
12
16

8
6
6

8
10
14

8
10
14

6
8
8

4400

600

3000

700

1022
1022
1026

5300

2390
2395
2400

3115
3595
4560

2630
3130
4095

16

1,0(10)
1,6 (16)
2,5(25)

2000

10
14
-

10
14
-

8
8
-

8
12
16

10
12
16

6
6
6

4200

700

600

1224
1228
1228

5305
5350
5350

2795
2800
2800

4045
5200
-

3580
4545
5820

20

1,0(10)
1,6 (16)
2,5(25)

10
14
-

10
14
-

8
8
-

8
12
16

10
12
16

6
6
6

5400

750

4300

550

1224
1228
1228

6500
6550
6550

2795
2800
2800

4570
6145
-

3980
5370
6800

25

1,0(10)
1,6 (16)
2,5(25)

2400

12
16
-

12
16
-

8
8
-

10
14
18

10
14
18

6
6
10

4500

3000

750

1428
1432
1436

5845
5850
5860

3200
3205
3210

5945
7385
-

5100
6560
8960

32

1,0(10)
1,6 (16)
2,5(25)

12
16
-

12
16
-

8
8
-

10
14
18

10
14
18

6
6
10

6000

4500

1428
1432
1436

7345
7350
7360

3200
3205
3210

7030
8830
-

6000
7820
10750

50

1,0(10)
1,6 (16)
2,5(25)

 

12
16
-

12
16
-

8
8
-

10
14
18

10
14
18

6
6
10

9700

850

6700

1500

1428
1432
1436

11045
11050
11060

3200
3205
3210

10385
12705
-

8900
11240
15520

80

0,8(8)
1,0(10)
0,6(16)
2,5(25)

3000

12
14
18
-

14
14
18
-

8*
14
10
-

10
12
16
22

14
14
16
22

10
8*
12
18

9800

850

6000

1900

1730
1738
1738
1750

11450
11450
11455
11505

3800
3805
3825
3830

13405
15015
18600
-

11900
13350
16630
22600

100

0,8(8)
1,0(10)
0,6(16)
2,5(25)

 

12
14
18
-

14
14
18
-

8*
14
10
-

10
12
16
22

14
14
16
22

10
8*
12
18

12300

8000

2150

1732
1740
1740
1750

13945
13945
13955
14005

3805
3815
3815
3830

15740
17650
21900
-

13850
15600
19600
26700

 

200

1,0 (10)

3400

14

16

12

12

16

8

19800

13000

3400

1941

21650

4215

33180

29600

 

 

Используются технологии uCoz