ООО "Промхиммаш" г. Тамбов |
||||||||||||||||||||||||||||||||||||||||||||||||||||||||||||||||||||||||||||||||||||||||||||||||||||||||||||||||||||||||||||||||||||||||||||||||||||||||||||
|---|---|---|---|---|---|---|---|---|---|---|---|---|---|---|---|---|---|---|---|---|---|---|---|---|---|---|---|---|---|---|---|---|---|---|---|---|---|---|---|---|---|---|---|---|---|---|---|---|---|---|---|---|---|---|---|---|---|---|---|---|---|---|---|---|---|---|---|---|---|---|---|---|---|---|---|---|---|---|---|---|---|---|---|---|---|---|---|---|---|---|---|---|---|---|---|---|---|---|---|---|---|---|---|---|---|---|---|---|---|---|---|---|---|---|---|---|---|---|---|---|---|---|---|---|---|---|---|---|---|---|---|---|---|---|---|---|---|---|---|---|---|---|---|---|---|---|---|---|---|---|---|---|---|---|---|---|
![]() |
![]() |
![]() |
![]() |
![]() |
![]() |
|||||||||||||||||||||||||||||||||||||||||||||||||||||||||||||||||||||||||||||||||||||||||||||||||||||||||||||||||||||||||||||||||||||||||||||||||||||||
Россия, 392010, г. Тамбов, ул. Монтажников, 10 тел./факс: (4752) 48-15-20, 53-58-64 |
||||||||||||||||||||||||||||||||||||||||||||||||||||||||||||||||||||||||||||||||||||||||||||||||||||||||||||||||||||||||||||||||||||||||||||||||||||||||||||
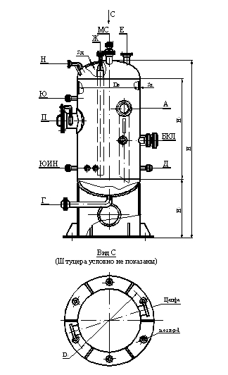
Аппараты емкостныеТеплообменная аппаратураРезервуарыСепараторыЕмкости подземные горизонтальные дренажныеФильтры жидкостные сетчатые для трубопроводовОтстойники нефти горизонтальныеСосудыАппараты с перемешивающими устройствами
|
Аппараты емкостные цилиндрические для газов и жидких сред
|
|||||||||||||||||||||||||||||||||||||||||||||||||||||||||||||||||||||||||||||||||||||||||||||||||||||||||||||||||||||||||||||||||||||||||||||||||||||||||||
Объем |
Давление |
Dвн |
Материальное исполнение |
Н1 |
Н2 |
Н |
Материальное исполнение |
||||
1 |
2,3 |
||||||||||
1 |
2,3 |
||||||||||
Sk |
Sq |
Sk |
Sq |
||||||||
Масса, кг |
|||||||||||
2 |
1,6 (16) |
1000 |
10 |
10 |
8 |
8 |
2200 |
1075 |
3560 |
1575 |
1420 |
4 |
1,6 (16) |
1200 |
10 |
10 |
8 |
8 |
3000 |
1100 |
4450 |
2055 |
1800 |
6,3 |
1,0 (10) |
1600 |
10 |
10 |
8 |
8 |
2500 |
1105 |
4055 |
2565 |
2260 |
8 |
1,0 (10) |
10 |
10 |
8 |
8 |
3300 |
1105 |
4855 |
2920 |
2550 |
|
10 |
1,0 (10) |
10 |
10 |
8 |
8 |
4400 |
1105 |
5955 |
3330 |
2870 |
|
16 |
0,8(8) |
2000 |
10 |
10 |
8 |
10 |
4200 |
1525 |
6275 |
4260 |
3830 |
25 |
1,0(10) |
2400 |
12 |
12 |
10 |
10 |
4500 |
1555 |
6725 |
6660 |
5860 |
32 |
1,0(10) |
12 |
12 |
10 |
10 |
6000 |
1555 |
8225 |
7765 |
6780 |
|
50 |
0,8(8) |
10 |
10 |
10 |
10 |
9700 |
1535 |
11885 |
9750 |
9750 |
|
80 |
0,8(8) |
3000 |
12 |
14 |
10 |
14 |
9800 |
1570 |
12205 |
15060 |
13550 |
100 |
0,8(8) |
12 |
14 |
10 |
14 |
12300 |
1580 1595 |
14705 14725 |
17550 |
15650 |
|
Примечания: 1. Толщина обечаек и днищ определены при коэффициенте прочности сварных швов j=1.
2. Допускается превышение массы аппаратов не более 5%.
