ООО "Промхиммаш" г. Тамбов |
|||||||||||||||||||||||||||||||||||||||||||||||||||||||||||||||||||||||||||||||||||||||||||||||||||||||||||||||
|---|---|---|---|---|---|---|---|---|---|---|---|---|---|---|---|---|---|---|---|---|---|---|---|---|---|---|---|---|---|---|---|---|---|---|---|---|---|---|---|---|---|---|---|---|---|---|---|---|---|---|---|---|---|---|---|---|---|---|---|---|---|---|---|---|---|---|---|---|---|---|---|---|---|---|---|---|---|---|---|---|---|---|---|---|---|---|---|---|---|---|---|---|---|---|---|---|---|---|---|---|---|---|---|---|---|---|---|---|---|---|---|
![]() |
![]() |
![]() |
![]() |
![]() |
![]() |
||||||||||||||||||||||||||||||||||||||||||||||||||||||||||||||||||||||||||||||||||||||||||||||||||||||||||
Россия, 392010, г. Тамбов, ул. Монтажников, 10 тел./факс: (4752) 48-15-20, 53-58-64 |
|||||||||||||||||||||||||||||||||||||||||||||||||||||||||||||||||||||||||||||||||||||||||||||||||||||||||||||||
Аппараты емкостныеТеплообменная аппаратураРезервуарыСепараторыЕмкости подземные горизонтальные дренажныеФильтры жидкостные сетчатые для трубопроводовОтстойники нефти горизонтальныеСосудыАппараты с перемешивающими устройствами
|
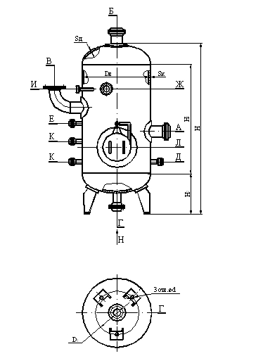
Аппараты емкостные цилиндрические для газов и жидких сред
|
||||||||||||||||||||||||||||||||||||||||||||||||||||||||||||||||||||||||||||||||||||||||||||||||||||||||||||||
Объем, |
Давление условное, МПа (кгс/см2) |
Dвн |
Материальное исполнение |
Н1 |
Н2 |
Н |
Материальное исполнение |
||||
1 |
2, 3 |
1 |
2, 3 |
||||||||
Sk |
Sq |
Sk |
Sq |
Масса, кг |
|||||||
2 |
1,6 (16) |
1000 |
10 |
10 |
8 |
8 |
2200 |
475 |
2960 |
1160 |
1000 |
4 |
1,6 (16) |
1200 |
10 |
10 |
8 |
8 |
3000 |
575 |
3930 |
1660 |
1400 |
6,3 |
1,0 (10) |
1600 |
10 |
10 |
8 |
8 |
2500 |
720 |
3670 |
2060 |
1750 |
8 |
1,0 (10) |
10 |
10 |
8 |
8 |
3300 |
720 |
4470 |
2400 |
2000 |
|
10 |
1,0 (10) |
10 |
12 |
8 |
10 |
4400 |
720 |
5575 |
2900 |
2420 |
|
16 |
1,0 (10) |
2000 |
10 |
12 |
8 |
10 |
4200 |
890 |
5640 |
3650 |
3050 |
25 |
1,0 (10) |
2400 |
12 |
12 |
10 |
10 |
4500 |
1100 |
6270 |
5480 |
4660 |
Примечания: 1. Толщина обечаек и днищ определены при коэффициенте прочности сварных швов j=1.
2. Допускается превышение массы аппаратов не более 5%.
